|
 |
| |
在庫切れの場合がございます。店舗までお問合せ下さい。
|
|
|
[便座]
ウォームレットS
TCF116#NW1
エロンゲート・レギュラー兼用
●ホワイト、パステルアイボリー、パステルピンク、ホワイトグレー
エロンゲート(大形サイズ)、レギュラー(普通サイズ)を問わず、便器の大きさにあわせられるから、きれいなシルエットに仕上がります
¥22,800(税込¥25,080) |
|
| |
|
|
|
[便座]
普通便座
TC291#SC1
TC290#SC1
エロンゲートサイズ(大型)、レギュラーサイズ(普通)
●ホワイト、パステルアイボリー、パステルピンク、ホワイトグレー
前丸便座、スタンダードタイプ
¥10,400(税込¥11400) |
|
| |
|
|
|
[便座]
普通便座
TC301#SC1
TC300#SC1
エロンゲートサイズ(大型)、レギュラーサイズ(普通)
●ホワイト、パステルアイボリー、パステルピンク、ホワイトグレー
前丸便座、ソフト閉止付き
¥12,700(税込¥13,970) |
|
| |
|
|
|
[便座]
幼児用補助便座
TC51
●シートカバー(ピンク1枚・イエロー1枚)付き、カラー:ホワイトのみ
ウォシュレットやウォームレット・普通便座などに簡単に取り付けられます。
両手でつかめる取っ手付きのため子供が安心して排せつできます。
シートカバー付きのため、子供の肌が直接便座に触れることなく、一年中快適に使用できます。
¥4,350(税込¥4,785) |
|
| |
|
|
|
[便座]
やわらか補高便座
EWC401S
EWC400R
エロンゲートサイズ(大型)、レギュラーサイズ(普通)
●ハーベストブラウン
今の便座では硬くて座りにくい方や小柄な方におすすめの、穴が小さめの便座です。
クッション性が高く、座り心地がよい便座です。
便座の上に置くだけで、取付作業は不要。水洗いもでき、清潔です。
便座の高さが30mm高くなります。
¥8,900(税込¥9,790) |
|
| |
|
|
|
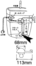
[ロータンクレーバー]
レバーハンドル部(TS670C型用、大小切替付)
THY425-1R
¥2,400(税込¥2,640) |
|
| |
|
|
|
[フロートバルブ]
50oフロートバルブ(密結タンク用)
THY418
密結タンク用
¥1,200(税込¥1,320) |
|
| |
|
|
|
[ボールタップ]
横型ロータンク用ボールタップ
THYS2A
TOTOのトイレならロータンクの手洗い、またはボールタップの水位調節ハングのあり・なしで取替え部品を特定することができます
¥8,500(税込¥9,350) |
|
| |
 |
| Copyright (C)
2006LIVING TOWA All Rights Reserved. |